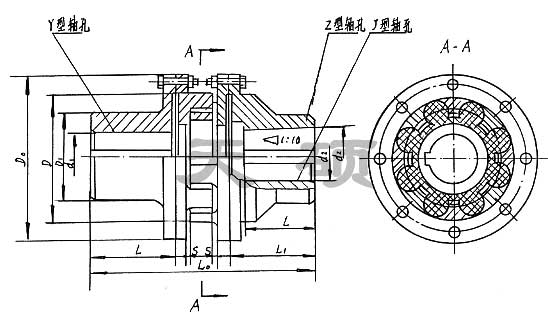
MLS型-雙法蘭型梅花形彈性聯軸器基本性能參數和主要尺寸
位置:首頁 >>聯軸器 >>梅花形彈性聯軸器>>聯軸器配件>>MLS型雙法蘭型梅花形彈性聯軸器>>MLS型雙法蘭型梅花形彈性聯軸器基本性能參數和主要尺寸


滄州天碩聯軸器有限公司 郵編:062150
聯系電話:0317-8223939 8288879 8288808業務傳真:0317-8263317
公司地址:河北省泊頭市南倉街 E-MAIL: oklzq@aliyun.com
Copyright 2001 TANSO Ltd.All rights reserved.
天碩信息部制作 版權所有 網站地圖
冀ICP備06024850號
零間隙梅花聯軸器仍然遵循以往在國內的增長模式,單一盯住出口額,絕不是長遠之道,因此,企業必須順應經濟發展的潮流,轉換經營思想和理念,在不斷發展產品經營的同時,高度重視資本經營在企業發展中的作用。星形聯軸器同時,還為貴州黎陽機械廠、沈陽 606 所、 7105 工廠、成都航空發動機公司等航空企業提供了數控重型機床和加工中心等關鍵加工設備。在這屆展示全球機床高端產品的盛大 “ 宴會 ” 上,江蘇亞威機床有限公司參展的 “ 中國名牌 ” 產品高精密數控折彎機與數控剪板機,受到來自全球數以千計的機床生產廠家和經銷商的青睞。低間隙梅花聯軸器聯軸器 ROTEX couplings couplings couplings couplings al-035 三木
聚氨酯聯軸器 GR 90 ROTEX-GS 90 es 90 trasco 90 es 65 cl-150 lovejoy
聚氨酯聯軸器 sit spa ktr kupplungstechnik gmbh made in italy made in germany coupling miki pulley
聯軸器 sit spa ktr kupplungstechnik gmbh made in italy made in germany coupling miki pulley 64 sha
進口 進口 進口 進口 進口 進口 進口 進口
梅花塊 GR 125 ROTEX-GS 125 es 125 trasco 125 sprflex coupling mikipulley EK1/450
彈性聯軸器 GR 65 ROTEX-GS 65 es 65 trasco 65 es 48 cl-100 lovejoy
servomax EKL/150 EKH/300 EK1/150 RW R+W ANTRIEBSELEMENTE GMBH EK2/60 EK6/300
彈性體 GR 19 ROTEX-GS 19 es 19 trasco 19 es 9 al-070 三木
彈性塊 sit spa ktr kupplungstechnik gmbh made in italy made in germany coupling miki pulley 92 SHA
梅花聯軸器 GR 14 ROTEX-GS 14 es 14 trasco 14 es 7 al-050 三木